
近日,阿里资产司法拍卖平台显示,一辆京牌二手迈凯伦豪华跑车以89.28万元的价格被拍卖,最终以起拍价成交。
公告显示,该车评估价为99.2万元,出厂日期为2014年,行车里程5600公里,拍卖时处于查封扣押状态。拍卖过程中有1.4万次围观,但只有1人报名。这款迈凯轮型号为迈凯伦650S Spider,据第三方网站报价,2014年其指导价达406.80万元,目前已经停产。
图 / 阿里拍卖平台
背后扯出41亿元职务侵占案
拍卖信息显示,原车主董英直此前为吉林省白山市江源农商银行董事长、法定代表人,因犯职务侵占罪,违法所得超41.38亿元,被判处有期徒刑10年6个月,并处没收个人财产人民币450万元。上述被拍卖的迈凯伦,是对董英直违法所得81.76万元购买对应的份额及其收益依法追缴。
图 / 拍卖裁定书
江源农商行曾为失信被执行人
中国执行信息公开网发布的信息显示,董英直在任期间的2021年,江源农商银行因“有履行能力而拒不履行生效法律文书确定义务”,被南昌铁路运输中级法院列为失信被执行人。据中国裁判文书网披露,该行因提供连带保证担保而卷入了借款合同纠纷。
据当年报道,截至2021年4月,江源农商银行的执行人信息共有34条,执行标的金额累计达18.48亿元,而工商信息显示,该行的注册资本也不过才22亿元,意味着执行金额已达该行总资本的84.95%。
此外,董英直还在多家公司担任执行董事兼总经理等职务,根据《中华人民共和国商业银行法》第五十二条规定,商业银行的工作人员不得在其他经济组织兼职。
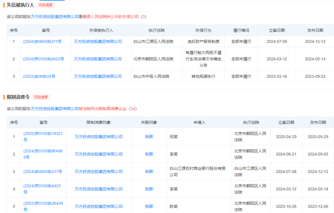
天眼查最新资料显示,目前白山江源农村商业银行股份有限公司共有852条周边风险信息,其中公司股东万方投资控股集团有限公司是被公示的失信公司,并被法院列为限制高消费企业。
对此你怎么看?欢迎评论区聊聊]article_adlist-->来源丨21财经客户端综合自红星资本局、阿里拍卖、天眼查、公开信息
21热点观察员丨刘雪莹
]article_adlist-->SFC]article_adlist--> 21君荐读 ]article_adlist-->金价突然反攻!A股上半年超3700股上涨打虎!东航集团原董事长被查
《哪吒2》打破113项记录!光线传媒或分到52亿元
]article_adlist-->
]article_adlist-->
海量资讯、精准解读,尽在新浪财经APP
责任编辑:李琳琳
信汇网配资提示:文章来自网络,不代表本站观点。